在跨境业务、TikTok 运营和电商独立站的实践中,IP 环境的真实性与稳定性 是成功的关键。传统 VPS 虽然便宜,但大多使用数据中心 IP,容易被平台识别为非真实用户,从而导致封号、广告受限等问题。
而 丽萨主机(LISHA HOST) 主打的 双 ISP 住宅级原生 IP VPS,彻底解决了这个痛点,为用户带来更接近真实家庭宽带的使用体验,解锁能力与稳定性远超同类产品。
一、丽萨主机的核心优势
- 双 ISP 住宅原生 IP
- 提供 双线路(双 ISP)住宅 IP,相比单一数据中心 IP 更接近真实用户网络环境,安全性与可信度大幅提升。
- IP 纯净度高,不易出现黑名单问题。
- 强大的解锁能力
- 轻松解锁 Netflix、Disney+、HBO、ChatGPT 等国际流媒体和 AI 服务。
- 尤其适合 TikTok 跨境运营,支持注册、养号、投放广告,避免“环境不真实”导致的封号。
- 电商/独立站友好
- 住宅原生 IP 对电商平台(如 eBay、Amazon、Shopee 等)更友好,账号安全性高。
- 独立站运营、社媒推广、广告投放都能获得更高的转化与权重。
- 性价比突出
- 相比传统住宅 IP 代理动辄上百美元/月,丽萨主机的套餐价格亲民,长期使用更划算。
二、套餐推荐
10%循环优惠码如下,所有套餐均可使用:
全场通用9折优惠码:TS-CBP205DQJE (永久折扣,续费也有效)
lisha支持美国、香港、新加披、台湾、日本、英国、韩国、德国等国家的住宅IP,具体套餐请点击官网链接购买: Lisha主机官网
网络测试
这里我拿到了一台测试机,先看看它的IP是不是ISP类型,这里我们用https://ipinfo.io/进行测试,其结果如下所示:
从上面的测试结果图可以看到这个IP确实是双ISP类型的,所以可以肯定是美国家宽原生IP。
接下来我们测试下我本地网络Ping的平均延迟效果,如下所示:
从测试效果可以看到,我本地Ping的平均延迟在196ms左右,这个延迟对于美国机房服务器来说还是相当不错的了,而且可以看到网络非常的稳定,基本都没有丢包的情况。
我本地的网络不代表大多数用户,所以我们用第三方工具,测试下全国各地网络延迟情况,如下所示:
从上面的结果得知,全国网络平均延迟在197ms左右,和我本地网络差不多,其中电信网络延迟最低在189ms左右,其次是联通网络延迟在197ms左右,而移动网络延迟在208ms。总体来说电信、联通、移动三网延迟都是比较不错的。
测试完了延迟,我们再看看网络稳定性情况。网络稳定性一般通过Ping IP的方式进行测试。这里我们不仅测评国内的网络稳定性,我们还测评国外网络的稳定性,同样是通过第三方工具进行测试,其结果如下所示:
从上面的测试结果可以看到,全球不管是国内节点网络还是国外节点网络稳定性都是相当不错的,基本都没有丢包的情况,其中红框圈出来的部分就是国内各个节点的测试结果,包括了电信、联通、移动和腾讯、华为、阿里等云服务器网络,整体测试下来都是很稳定的。
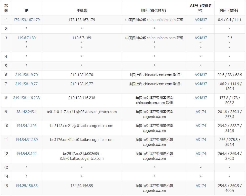
网络路由线路的情况往往决定了网络的稳定性,可以从去程和回程两个方面去测试路由情况,主要是看电信、联通、移动三网的路由情况。我们先看下三网去程路由情况。
电信去程路由:
联通去程路由:
移动去程路由:
可以看到三网去程路由都是国内网口直连美国,通过圣何塞节点后到达洛杉矶机房,去程线路还是不错的。下面我们再看看三网回程路由情况。
电信回程路由:
联通回程路由:
移动去程路由:
从上面的测试结果可以看到,电信、联通、移动三网回程路由都是走的AS4837线路,从洛杉矶机房直连香港节点,然后进入大陆网口。
所以从路由线路方面来看,三网去程和回程都是直连,线路还是相当不错的,这也印证了前面测试的网络稳定情况。
下面我们再看下丽萨主机的这款美国家宽VPS的服务器性能和速度怎么样,如下所示:
从测试结果图可以看到,服务器采用是E5-2680主频2.4GHz的处理器,磁盘I/O达到了428MB/秒,可以说性能是相当不错的。速度方面可以看到,上传和下载都基本上可以跑满1000Mbps,当然你本地具体的速度还是要看你自己的网络怎么样,每个人在每个地区是有差别,但是能有这个测试速度,再怎么也不可能差的。
所以从网络测试的各方面来看,丽萨主机的这款美国家宽VPS延迟、稳定性、路由、性能、速度各方面来说都是非常出色的,在我们测评的所有美国家宽VPS中属于优等的那一类。
价格套餐
下面我们以表格的形式展示下丽萨主机美国家宽VPS的价格套餐,如下所示:
| 套餐 | CPU核数 | 内存 | 存储 | 带宽 | 流量 | 价格 |
|---|---|---|---|---|---|---|
| 套餐1 | 1 | 1 | 20GB | 300Mbps | 3TB | 60元/月 |
| 套餐2 | 2 | 2 | 40GB | 500Mbps | 8TB | 100元/月 |
| 套餐3 | 4 | 4 | 80GB | 1000Mbps | 20TB | 300元/月 |
| 套餐4 | 2 | 2 | 40GB | 200Mbps | 无限 | 198元/月 |
| 套餐5 | 8 | 8 | 120GB | 500Mbps | 无限 | 498元/月 |
从上面的价格套餐来看,性价比是相当不错的,特别是最低配置只需要60元/月,并且流量也很充足,比起那些动辄几百上千的主机商来说是相当的可以了。可以看到上面的套餐可以分为有限流量和无限流量两种类型,这个就看你的流量需求有多大了,不过即便是有限流量相信也能够满足绝大多数用户的需求了。
购买教程
有需要购买的用户可以通过丽萨主机官网进入首页后,选择“产品中心”菜单,如下所示:
然后选择“美国4837线路超大带宽VPS”类型的产品,如下所示:
根据自己的需要,选择合适的套餐,点击“立即购买”按钮购买,然后后面的流程跟着提示填写相关信息就可以了
总结
以上就是关于丽萨主机的相关测评介绍。从网络方面来看,延迟较低,拥有稳定性的网络,提供充足的带宽,而且服务器性能强劲,在所有家宽VPS都属于优等。从价格方面来看,丽萨主机的分为多种类型,能够满足多种用户的需求,并且价格便宜,在家宽VPS这一块拥有超高的性价比,有需要美国家宽VPS的用户值得推荐。
其他文章: |
51VPS技术博客















